New Protocols Drive Wireless Control of Residential Lighting
Bijgedragen door De Europese redacteurs van DigiKey
2012-07-19
New protocols and open standards are emerging that are helping to drive up the volume of wireless links in home automation and drive down costs. Controlling lighting systems in residential environments is providing more controllability of energy costs, linking the lighting to central gateways that can be accessed by devices such as smartphones, tablets and PCs.
But there are still issues of cost and interference surrounding the different wireless technologies. While WiFi is an open standard that is popular in the home for carrying multimedia data, it has not seen dramatic increases in volume in residential control applications, such as lighting.
Other 2.4 GHz technologies such as ZigBee have been used in home automation equipment and the mesh network approach is becoming increasingly popular for linking together elements in the home, particularly control of lighting systems. Other technologies such as Sigma Designs’ Z-Wave and EnOcean’s wireless protocol have also been emerging in the lower unlicensed bands at 315 MHz and 868 MHz.
German wireless specialist EnOcean is now seeing its wireless short packet protocol adopted as a standard by the International Standards Organization (ISO).
The ISO/IEC 14543-3-10 standard for Home Electronic Systems (HES) uses the EnOcean protocol and the first three layers to provide a consistent basis for the development of ultra-low power wireless controllers. This move to an open standard will allow silicon vendors and module makers to develop gateways that will connect to sensors and controllers that use the EnOcean technology. By creating an open standard for such designs, EnOcean sees an increase in volume and a reduction in cost to further drive the technology into the home.
The EnOcean technology has been developed over the last ten years and uses regulated frequency ranges approved for pulsed signals at 868.3 MHz or 315 MHz for worldwide use coupled with a prearranged transmitter-to-receiver assignment with four billion fixed code numbers to provide this reliability, which is now within an open standard environment. The radio uses ASK and low data rates of 125 Kbit/s to keep the costs down, along with short telegrams that are sent at random to avoid collisions.
The approach combines three key technologies: wireless sensors using motion converters, solar cells and thermo converters; using optimal techniques for energy management that make sure the devices function with even the tiniest amounts of energy to transmit sensor information via radio; and intelligent software-stacks to enable a modular, versatile and user-friendly integration into the customer application.
EnOcean’s STM300 bidirectional RF transmitter module is aimed at the control of sensors and lighting systems in a residential environment. Power is provided by an external energy harvester, such as a small solar cell or a thermal harvester, while a small battery can be connected to bridge periods with no supply from the energy harvester. A voltage limiter avoids damaging of the module when the supply from the energy harvester gets too high.

Figure 1: EnOcean’s STM 300 RF module.
The module provides a user-configurable cyclic wake up (every 1, 10 or 100 seconds) and then a radio telegram with the input data. A unique 32 bit sensor ID is sent if there is any significant change in any digital or analog input value. If there is no change, a redundant retransmission signal is sent after a user-configurable number of wake-ups to announce all current values. In addition, a wake-up can be triggered externally.
The module includes three A/D converter inputs and four digital inputs with the configurable wake-up and transmission cycle, voltage limiter and threshold detector. There are several power down and sleep modes down to 0.2 µA current consumption and up to 16 configurable I/Os. Using the Dolphin API library it is possible to write custom firmware for the module that runs on the integrated 16 MHz 8051 CPU with 32 kB Flash and 2 kB SRAM.
The distinguishing feature that sets Dolphin apart from other wireless system architectures is energy harvesting, which enables self-powered wireless sensors and actuators. The Dolphin system architecture joins the components necessary for an autonomous wireless sensor system that operates on a standardized wireless network. These include energy conversion and storage components, EnOcean wireless modules for energy management, data acquisition, data processing and wireless data transmission, and finally the software blocks operating system, API and application programs.
EnOcean’s modules combine micro-energy converters with ultra-low power electronics and reliable wireless communications. This enables system developers to create self-powered wireless sensor solutions that are fundamental for efficiently managing energy applications in the home. The modules integrate the energy converters, energy management and radio modules and the system and communication software to make development as easy as possible. The required operating energy is typically 50 μWs per radio telegram so the operating energy can be generated by pressure, movements, light, temperature, vibration or even rotation. The modules also have a high transmission range of up to 300 m outdoors and up to 30 m indoors to provide coverage of a typical home.
Key for the design of wireless systems for the residential environment is reliability and coexistence. There can be many sensors operating to control many lighting systems, and all these have to work reliably in a radio environment that includes lots of other noise, from microwave ovens to cordless phones and WiFi data networks.
Mesh networks such as the 802.15.4 ZigBee and Synapse Wireless’ SNAP provide a low power, low cost self-contained approach optimized for building automation.
Synapse’s EK2400 evaluation kit demonstrates how the SNAP E10 embedded connectivity appliance can link directly with SNAP mesh networks. The E10 can collect data from SNAP devices for centralized storage, database processing or application monitoring, and bridges across TCP/IP without requiring firewall configuration or policy exceptions. It provides seamless connectivity of SNAP, Ethernet, WiFi and even cellular traffic to centralized applications, databases or storage via a 400 MHz 32-bit RISC processor running an open, embedded version of Linux.
One advantage for consumer systems is that the SNAP system doesn’t require any programming, as Synapse provides access to SNAP nodes from custom applications developed in most standard programming languages, including Python, C, C#, C++, Java and even Visual Basic. These applications, as well as the SNAP devices themselves, transmit and accept standard remote procedure (RPC) calls as well as update ‘over the air.’
Synapse also provides a module for the remote, wireless control of residential lighting as part of its Lighting Cloud Service. This is an Internet-enabled, wireless remote control and monitoring service for secure indoor or outdoor lighting applications designed to control fluorescent, LED and HID electronic ballasts with dimming and true on/off functionality using the IEEE 802.15.4 ZigBee technology.
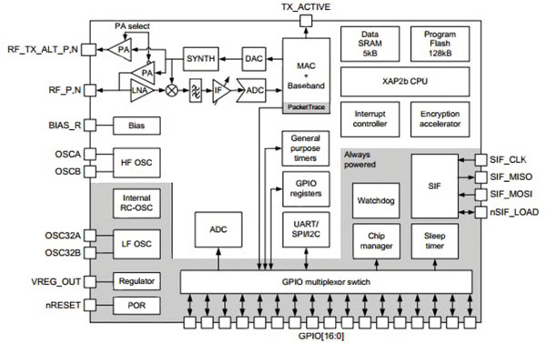
ZigBee is a key technology for building automation, providing a mesh network where each node passes data to the next. Unlike WiFi, which needs a network of access points and needs to be planned, this allows a ZigBee network to expand by connecting new nodes to the nearest neighbor. Silicon Labs has developed a single-chip solution that integrates a 2.4 GHz, IEEE 802.15.4-compliant transceiver with a 16 bit XAP2b microprocessor, Flash and RAM memory, and peripherals of use to designers of ZigBee-based applications.
The EM250 transceiver uses an efficient architecture that exceeds the dynamic range requirements imposed by the IEEE 802.15.4-2003 standard by over 15 dB, giving the modules longer range or more protection against interference. The integrated receive channel filtering allows for co-existence with other communication standards in the 2.4 GHz spectrum such as IEEE 802.11g and Bluetooth. The integrated regulator, VCO, loop filter, and power amplifier keep the external component count low. An optional high performance radio mode (boost mode) is software selectable to boost dynamic range by 3 dB.
The XAP2b microprocessor supports two different modes of operation—System Mode and Application Mode. The EmberZNet stack runs in System Mode with full access to all areas of the chip, while the application code runs in Application Mode with limited access to the EM250 resources; this allows for the scheduling of events by the application developer while preventing modification of restricted areas of memory and registers. This architecture results in increased stability and reliability of the network nodes, vital when the control of lighting is involved.

Figure 2: Silicon Labs’ EM250 ZigBee transceiver.
The EM250 has 128 kB of embedded Flash memory and 5 kB of integrated RAM for data and program storage and it uses an effective wear-leveling algorithm in order to optimize the lifetime of the embedded Flash. This avoids accessing the Flash memory too often and spreads the access out between blocks so that individual memory locations are not used more often than others.
To maintain the strict timing requirements imposed by ZigBee and the IEEE 802.15.4-2003 standard, the EM250 integrates a number of MAC functions into the hardware. The MAC hardware handles automatic ACK transmission and reception, automatic back-off delay, and clear channel assessment for transmission, as well as automatic filtering of received packets. In addition, the EM250 allows for true MAC level debugging by integrating the Packet Trace Interface.
To support user-defined applications, a number of peripherals such as GPIO, UART, SPI, I2C, ADC, and general-purpose timers are integrated. Also, an integrated voltage regulator, power-on-reset circuitry, sleep timer and low-power sleep modes are available. The deep sleep mode draws less than 1 μA, allowing products to achieve long battery life.
Atmel has also developed a highly integrated single chip transceiver that can be used to control residential lighting systems using the ZigBee protocol. The AT86RF230 2.4 GHz transceiver is a true SPI-to-antenna solution with all the RF-critical components except the antenna, crystal and de-coupling capacitors integrated on-chip. Therefore, the AT86RF230 is particularly suitable for residential lighting control applications alongside an external microcontroller, offering a standard technology with low-cost implementation.
The low cost comes from the complete radio transceiver interface between the antenna and the microcontroller with the analog radio transceiver and the digital demodulation, including time and frequency synchronization and data buffering. Only an antenna, a crystal and four decoupling capacitors are required to keep the cost down and make it suitable for a consumer application, and the bidirectional differential antenna pins are used for transmission and reception so that no external antenna switch is needed.

Figure 3: Block diagram of Atmel’s AT86RF230 single chip ZigBee transceiver showing the minimal external components required.
With over 500 products on the market, the Z-Wave Alliance claims to be the world’s largest ecosystem of interoperable wireless control solutions. Products using Sigma Design’s Z-Wave technology have been installed in more than a million homes in the US in the last year alone. Sigma’s European Z-Wave Home Control Development Kit consists of three packages. The Base Kit with development platform modules, power supply units and cables necessary to program the modules with a Z-Wave application.
The Regional Kit comes in different frequency variants and consists of Z-Wave reference design modules that are RF matched for a specific region. The Regional Kit also contains modules that are ready for integration directly into an OEM product. All the modules included are un-programmed.
The third element of the development kit is the Z-Wave Software Development Kit (SDK). This is available through the Sigma download center and access is included with the Home Control Development Kit. From here, the developer can access all relevant technical documentation, developer’s FAQ, ‘known issues’ database and get access to the protocol stack, embedded and serial API function descriptions and sample applications.

Figure 4: Sigma Design’s Z-Wave Development Kit.
Conclusion
A wireless network can provide a cost effective route to managing the lighting environment in the home. While there are well-established open standards such as ZigBee available, other protocols such as EnOcean and Sigma Designs offer alternatives. With EnOcean opening up its protocol to its wider ecosystem, costs of all the technologies are set to fall, driving more consumer interest in wireless connectivity and sensors for residential lighting.
Standalone modules can be easily integrated alongside lighting systems, although co-existence and security issues have to be considered, depending on the choice of wireless technology. This gives system designers considerable flexibility to help consumers reduce their energy bills and control their environment. Being able to control home lighting from a smartphone or tablet is increasingly appealing, and enabled by the maturing wireless protocols.
Disclaimer: The opinions, beliefs, and viewpoints expressed by the various authors and/or forum participants on this website do not necessarily reflect the opinions, beliefs, and viewpoints of DigiKey or official policies of DigiKey.

